
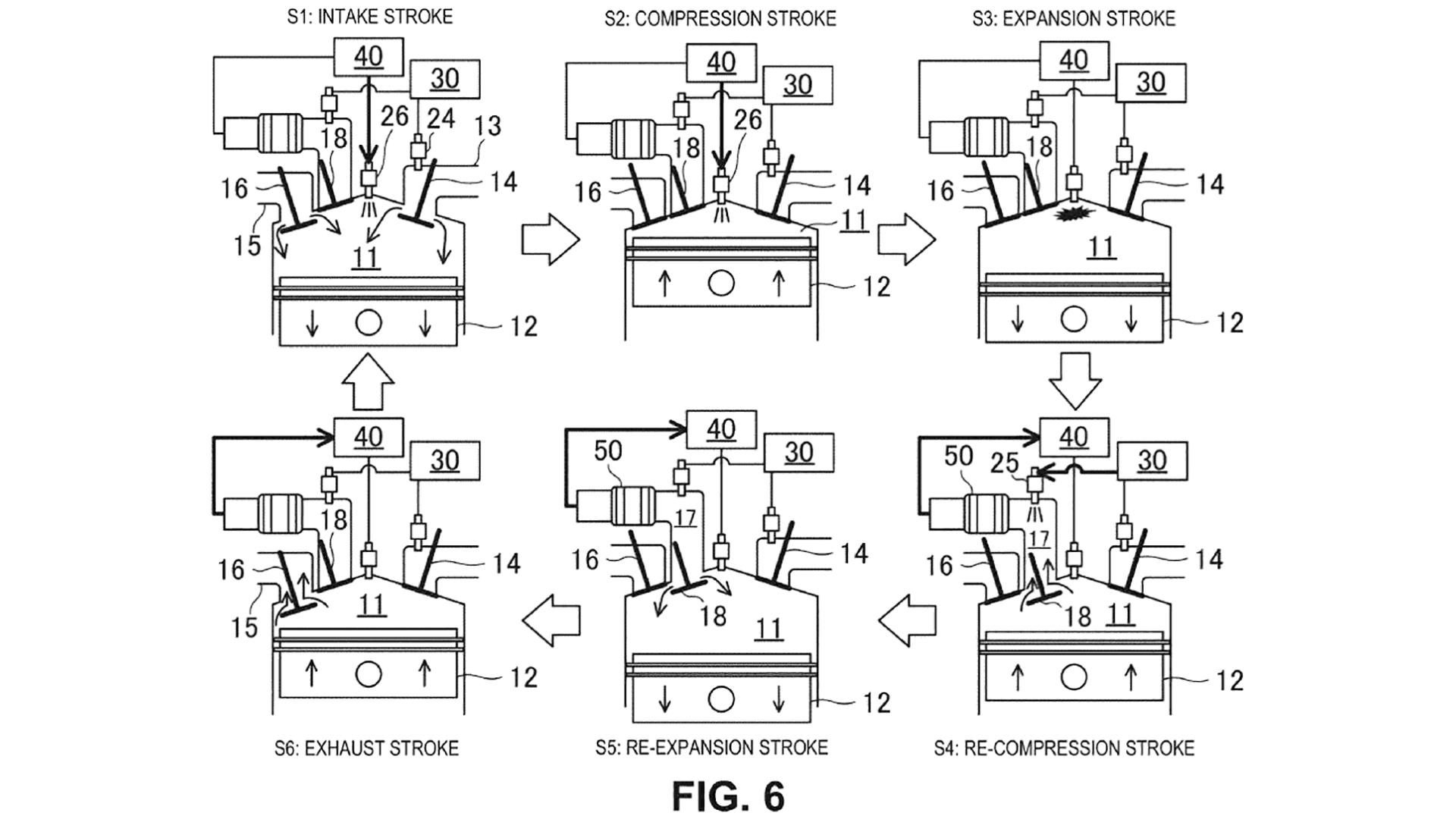
Mazda всегда славилась смелыми экспериментами с моторами, и на этот раз японцы вновь удивили. Компания запатентовала уникальный шестицикловый двигатель, который способен работать на бензине, но при этом практически не выбрасывает CO2. Суть технологии — в особом процессе разделения топлива: мотор выделяет водород из бензина, используя тепло и катализатор, а затем сжигает только водород, а углерод
Все новости:
cenyavto.com
180202

Загрузка...